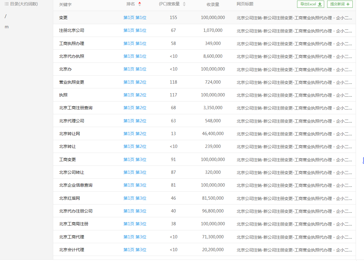
工商營業(yè)執(zhí)照代辦理優(yōu)化案例
標題:北京公司注銷-新公司注冊變更-工商營業(yè)執(zhí)照代辦理 - 企小二代理記賬
關鍵詞:北京代辦執(zhí)照,北京代理記賬,北京公司變更,北京公司注冊,北京公司注銷,北京辦營業(yè)執(zhí)照,北京工商注冊,北京注冊公司
描述:企小二(北京)企業(yè)服務有限公司專注北京周邊地區(qū)新公司注冊、代理記賬、公司注銷、公司變更、工商代辦、營業(yè)執(zhí)照代辦理等服務,企小二作為政府授權,天使輪投資為企業(yè)提供高新企業(yè)認定、商標注冊等一站式企業(yè)服務!


工商營業(yè)執(zhí)照代辦理優(yōu)化案例
用戶1
2022/8/12 10:07:37關鍵詞排名查詢:關鍵詞排名消失的原因有哪些